Sie befinden sich auf dem Portal für Fachleute, die im Bereich des Geistigen Eigentums arbeiten. Hier finden Sie Direktzugänge zu allen notwendigen Hilfsmitteln.
Die Schweizerische Post ehrt den Erfinder der WC-Ente mit einer Briefmarke. Wer war der Mann, der diese unverkennbare Flasche kreiert hat? Wir haben nachgeforscht. Teil 1 unserer fünfteiligen Serie über Schweizer Erfindungen auf Briefmarken.
Unverkennbares Aussehen: Die Flasche der WC-Ente. Foto: SC Johnson
Auch 45 Jahre nach der Patentanmeldung steht die WC-Ente in den Putzmittel-Regalen der Supermärkte. «Mit Entenhals-Technologie» steht auf manch einer Flaschen-Variante mit der unverkennbaren Form.
Der Erfinder der WC-Ente ist der Schweizer Walter Düring. In den 1960er-Jahren entscheidet der gelernte Drogist, dass er nicht die Drogerie seines Vaters übernehmen will. Er baut auf die Entkalker-Idee seiner Mutter. 1964 gründet er die Düring AG. Mit seiner Frau Vera entwickelt er erste Geräte zum WC-Putzen. Er konstruiert den WC-Enten-Vorläufer «Durgol WC», eine 5-Liter-Entkalker-Flasche mit angeschraubtem Putzteil. Das erleichtert die Reinigung unter dem WC-Rand.
Ende der 1970er-Jahre schreibt das Unternehmen hohe Verluste. Düring spielt mit dem Gedanken, die Firma zu verkaufen. Doch so schnell gibt er nicht auf. Er sucht nach einem neuen Flaschendesign, mit dem man auch unter den WC-Rand spritzen kann, wenn die Flasche fast leer ist. In seinem Büro stapeln sich viele Zeichnungen. Wenige Tage vor seinem 45. Geburtstag kommt 1980 der Heureka-Moment. «Ich sah mir meine Skizzen an und plötzlich machte es Klick. Ich hatte die technische Lösung gefunden. Sie sah aus wie ein Entenhals», berichtet der Erfinder im Buch «Schweiz Export».
Mit Holzmodell die WC-Ente getestet
Bis zur Markteinführung sollte nur ein Jahr vergehen. Düring schnitzt ein Holzmodell in der Form einer WC-Ente. Damit geht er in ein Sanitärartikelgeschäft und probiert aus, wie es in die verschiedenen WC-Schüsseln passt. Es folgen Änderungen, damit die Flasche auch in deutschen Kloschüsseln unter den Rand kommt. Er baut ohne Mechaniker die ersten WC-Ente-Abfüllanlagen zusammen. 1981 kommt die WC-Ente in der Schweiz auf den Markt. Ein kurzer TV-Spot macht das Produkt sofort bekannt. Düring schreibt das Storyboard selbst und führt Regie.
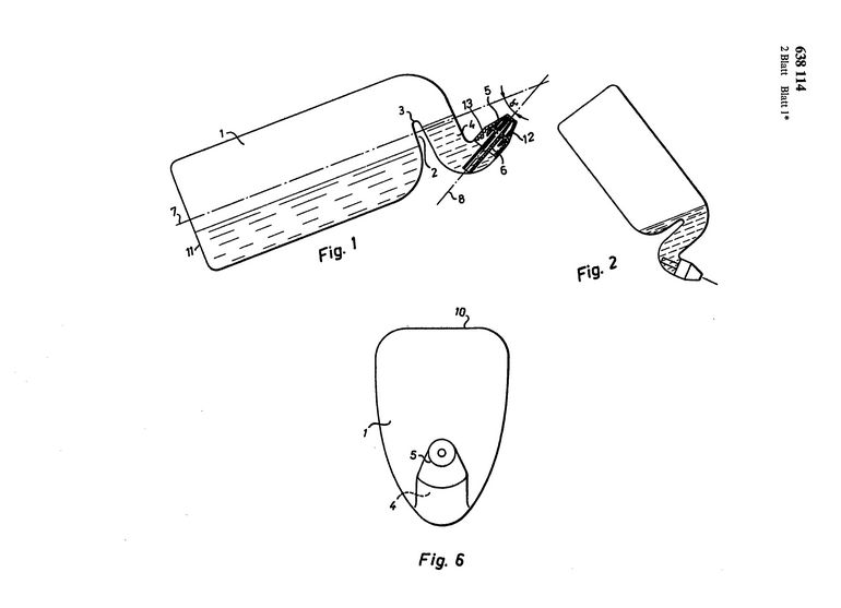
Die Patentzeichnung zur WC-Ente von Walter Düring. Die Form ermöglichte eine einfachere Toilettenreinigung. Die erste Rezeptur stammte von Vera Düring, Ehefrau des Erfinders.
Patente konsequent verteidigt
Düring meldet seine Erfindung am 3. Juli 1980 zum Patentschutz an. Titel: «Hand-Quetschflasche zur Erzeugung eines gerichteten Flüssigkeitsstrahles» (Patent CH638114). Auf sein Konto gehen in seiner Erfinder-Karriere 12 Patente. Düring verteidigt diese immer wieder erfolgreich gegen Nachahmer. Neben den Patenten, die maximal 20 Jahre aktiv sind, wird auch eine Marke angemeldet. Diese kann beliebig oft verlängert werden. WC-Ente existiert im Schweizer Register als Wort-Bild-Marke. Zudem hat Düring auch die Flasche als Formmarke schützen lassen.
Autor Willi Glaeser zeigt in seinem Buch «Schweizer Export» auch, was für eine Persönlichkeit Walter Düring war. Demnach war er durch und durch ein Tüftler. Selbst beim Segeln brütet er Ideen aus. Und was er anpackt, tut er mit vollem Engagement. Als er mit seiner Frau Vera das Segeln erlernt, vertieft er sich so intensiv in die Materie, dass er am Ende Schweizer Meister wird. Er soll sich damals sogar überlegt haben, einen Windanzeiger zu patentieren.
Der Vorläufer der WC-Ente.
Am Mittag ass Walter Düring am liebsten Cornflakes mit Milch
«Wer den gelernten Drogisten trifft, kann sich erst nicht recht vorstellen, dass dieser höfliche Geschäftsmann im rauen Putzmittelgeschäft reich geworden ist. Er wirkt äusserst korrekt und mag es praktisch. In seine Kaffeetasse kommt nichts als Nescafé Gold, am Mittag isst er am liebsten Cornflakes mit Milch», schreibt Willi Glaeser. Düring gehe «jede Grossspurigkeit» ab und auch die Gerissenheit eines Unternehmers sei nicht auf den ersten Blick erkennbar. Düring bezeichnete sich einmal selbst als unverbesserlichen Besserwisser mit grossem Wissensdurst.
1983 schliesst Düring mit SC Johnson einen weltweiten Lizenzvertrag ab – es ist der internationale Durchbruch. Die WC-Ente erobert über 130 Länder. 2000 übergibt Walter Düring die Firma schliesslich an seine Kinder. 2008 verkauft die Familie die weltweiten WC-Ente-Rechte an SC Johnson (inkl. Marken). Die Düring AG konzentriert sich seither auf das Entkalkungsmittel Durgol. 2017 stirbt der Erfinder und Geschäftsmann im Alter von 81 Jahren.
Die Briefmarke der Schweizer Post mit der WC-Ente. Foto: Schweizerische Post
Fünf Schweizer Erfindungen auf Briefmarken: Das steckt dahinter
Die Schweizerische Post widmet dem Erfinder der WC-Ente eine Briefmarke. Sie ist im September 2025 erschienen. Es ist die fünfte Briefmarke mit einer Schweizer Erfindung. Davor erschienen sind: Knoblauchpresse, Menzi Muck, Klettverschluss und Barryvox. Wir widmen jeder dieser legendären Innovationen eine Geschichte.
«Schweizer Themen, insbesondere die sogenannte ‘Swissness’, stossen bei unserer Zielgruppe – Sammler und Philatelisten – auf grosses Interesse. In Kombination mit dem Thema Erfindungen trägt dies dazu bei, die Schweiz als «Erfinderland» ins Rampenlicht zu rücken», schreibt die Schweizerische Post auf Anfrage des IGE. Die Auswahl der fünf Erfindungen sei im Rahmen eines Brainstormings erfolgt. «Ziel war es, die Vielfalt und den Reichtum Schweizer Erfindungen aufzuzeigen und gleichzeitig unterschiedliche Interessensgebiete unserer Zielgruppe abzudecken».
Mit der WC-Ente ist die Serie vorerst abgeschlossen. Deshalb hat die Post einen Folder mit allen bisher veröffentlichten Briefmarken zu Schweizer Erfindungen zusammengestellt.