Sie befinden sich auf dem Portal für Fachleute, die im Bereich des Geistigen Eigentums arbeiten. Hier finden Sie Direktzugänge zu allen notwendigen Hilfsmitteln.
Erst recherchieren, dann entwickeln: Der Reinigungsroboter mit durchdachter Schutzstrategie
Reinigungsroboter trifft man für gewöhnlich in Wohnungen an. Das autonome Modell des KMU KEMARO hingegen ist in Industrieanlagen im Einsatz und beseitigt Staub sowie groben Schmutz. Drei Ingenieure aus dem Thurgau haben diesen Roboter made in Switzerland entwickelt. Ihr Weg zeigt, wie Marktanalyse, Patente und Markenschutz zum Teil der Erfolgsgeschichte beitragen können.
Der Roboter K900 im Einsatz. Mitgründer Martin Gadient: «Die Patentanmeldungen haben uns Geld gekostet, aber da mussten wir durch, das gehört dazu.» Foto: Kemaro
Der Reinigungsroboter K900 von KEMARO (Kehrmaschinen-Roboter) dreht in Lagerhallen seine Runden. Er saugt gröberen Schmutz, PET- und Glasflaschen sowie Holzklötze von Paletten auf. Dank Sensoren und Software behält er auch bei veränderter Umgebung die Orientierung. Mit 35 cm Bauhöhe bleibt er niedrig und passt unter Regale. «Wir haben den Roboter von A bis Z selbst entwickelt», sagt Ingenieur und KEMARO-Mitgründer Martin Gadient.
Überraschendes Ergebnis bei der Patentrecherche
Auf die Idee kam Martin Gadient mit zwei Kollegen. Die Ingenieure waren zuvor bei einem Entwicklungsdienstleister angestellt, setzten Kundenprojekte um und wollten ein eigenes Produkt entwickeln. Bei einem Kunden im Spezialfahrzeugbereich sah er, wie aufwändig und kostspielig die tägliche Hallenreinigung war. Da kam der Gedanke für einen Reinigungsroboter. Eine Patentrecherche beim IGE ergab nichts Vergleichbares. «Für uns war klar: Wir haben eine Lücke entdeckt, das ist unsere Chance.»
Eineinhalb Jahre später folgte die Gründung. Mit der ersten Version testeten sie bei potenziellen Kunden Einsatzbereiche und Bedarf. Die Rückmeldungen und Marktstudien bestätigten das Potenzial. «Wir standen stets in engem Austausch mit den Kunden, um die Bedürfnisse zu ermitteln.» Ein Vorgehen, das sie bis heute beibehalten haben.
Gekonnt die Möglichkeiten des Patentsystems genutzt: Ingenieur und Mitgründer Martin Gadient. Foto: KEMARO
Geistiges Eigentum als Strategie
Von Anfang an war der Schutz des Geistigen Eigentums zentral. Das Team holte sich früh Hilfe bei Startup-Programmen und einem Patentanwalt. «Auf unserem Entwicklungsniveau geht es bei der Patentanmeldung nur mit einem Anwalt. Selbst anmelden war definitiv keine Option. Du kannst nicht alles selbst machen», sagt Gadient.
Patente gehören zur Strategie des KMU: «Die Anmeldungen haben uns Geld gekostet, aber da mussten wir durch, das gehört einfach dazu.» Der Schutz wurde international ausgeweitet. Einige nicht offensichtliche Elemente der Erfindung schützt das Unternehmen mit einem Geschäftsgeheimnis.
Die Patentdatenbanken erwiesen sich auch als Inspirationsquelle: Gadient fand die Erfindung einer passenden Bürstenanordnung und wartete deren Ablauf ab. «Wir haben gesehen, dass das Patent nur noch vier Monate gültig sein wird.» Nach spätestens 20 Jahren sind patentierte Erfindungen frei nutzbar. Potenzielle Geldgeber schätzen Schutzrechte auch als Sicherheitsgarantie: «Wir haben die Erfindung auch mit Blick auf die Investoren patentiert. Das Patent ist ein Gütesiegel.» Kemaro hat mehrere Patente sowie Geschäftsgeheimnisse; der Name KEMARO ist als Wort-/Bildmarke geschützt.
Sämtliche Technik im Roboter haben die drei Gründer entwickelt. Eine patentierte Lösung führt zum Beispiel gefilterte Luft gezielt über die Sensoren. Bild: KEMARO
Technische Hürden und Alleinstellungsmerkmale
Während der Entwicklung stellte die Software die grösste Herausforderung dar: «Wir wollten von Anfang an einen vollständig autonomen Roboter ohne zusätzliche Infrastruktur im Gebäude.» In staubigen Bereichen reinigt eine patentierte Lösung die Sensorik automatisch. Die 35-cm-Höhe blieb trotz Aufwand erhalten: «Diese Höhe ist ein Alleinstellungsmerkmal und deshalb wollten wir diese Herausforderung unbedingt meistern». Mit Erfolg. Ein technologischer Durchbruch gelang bei der Sensorik in staubbelasteten Umgebungen. Eine patentierte Lösung führt gefilterte Luft gezielt über die Sensoren. «Damit bleiben sie deutlich länger sauber, und der Wartungsintervall verlängert sich stark», so Gadient.
Auf die Fähigkeiten des K900 ist man stolz. «Es hat sich gelohnt, die Extrameile zu gehen», sagt Gadient. 2026 kommt ein weiteres Modell auf den Markt. Und auch hier wird Kemaro mit dem IP-Schutz die Kontrolle über seine Innovationen halten.
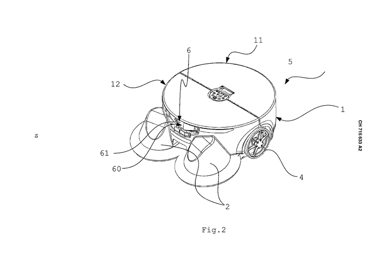
Zeichnung des Reinigungs-Roboters in der Patentschrift.
IP Academy: Geistiges Eigentum gekonnt nutzen
Die IP Academy des Eidgenössischen Instituts für Geistiges Eigentum (IGE) unterstützt Sie mit modularen Informations- und Weiterbildungsangeboten. Diese richten sich an Einsteiger wie Start-ups, KMU und Privatpersonen genauso wie an Universitäten und IP-Fachleute. Wenn Geistiges Eigentum Neuland für Sie ist, empfehlen wir den IP-Basisworkshop. Er vermittelt Ihnen Grundkenntnisse zu Marken, Patenten, geschützten Designs und dem Urheberrecht. Darauf aufbauend stehen Ihnen verschiedene spezifische Workshops und weitergehende Kurse zur Verfügung.