|

Ernst Menzi und der Kletter-Bagger

Ernst Menzi erfindet 1966 den ersten Schreitbagger der Welt. Der Tüftler ist auch ein talentierter Geschäftsmann. Die Erfindungen meldet der konsequent zum Patentschutz an. Teil 3 über unsere Serie über Schweizer Erfindungen auf Briefmarken.

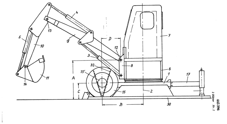
Die Zeichnung zur Patentschrift CH445396. Der Schreitbagger von Ernst Menzi ist 1966 eine Weltneuheit.

Der Schreitbagger von Ernst Menzi (1897-1984) ist damals eine Sensation: Er kommt mühelos im unwegsamen, steilen Gelände voran. Bis zu diesem Zeitpunkt kann keine der herkömmlichen Baumaschinen für schwierige Arbeiten am Hang eingesetzt werden. Mit dem Nachnamen Menzi und in Anlehnung an die legendäre Märchengestalt (Muck - der kleine Mann, der alles kann) wird 1966 die erste Menzi-Muck-Maschine ausgeliefert.

 
 

Ernst Menzi erfindet auch einen Liegestuhl

Der Erfolg lässt nicht lange auf sich warten. Das Produkt ist vor allem international sehr gefragt. Ernst Menzi bleibt dran und reicht die folgenden Jahre zahlreiche Schreitbagger-Verbesserungen beim IGE (damals Amt für Geistiges Eigentum) zum Patentschutz ein. Gelegentlich unternimmt er einen Ausflug in andere Bereiche und entwickelt zum Beispiel einen Liegestuhl. In seiner Laufbahn meldet er zahlreiche Erfindungen zum Patent an.

 
 

Die Familie Menzi hat sich vor vielen Jahren aus dem Unternehmen verabschiedet, das seit 1996 eine AG ist. Der Name ist in Bezug auf die Technik die einzige Verbindung zur Vergangenheit. Der Bagger ist laufend weiterentwickelt worden.

 

Durch die Konstruktion mit der Abstütztechnologie kann ein Schreitbagger auf jeglicher Art von Untergrund arbeiten. Der Schreitbagger hat deshalb schon viele Orte gesehen, die ein Mensch normalerweise nicht erreicht.

 
 

Schweizer Erfindungen auf Briefmarken: Das steckt dahinter

Die Schweizerische Post widmet dem Erfinder der WC-Ente eine Briefmarke. Sie ist im September 2025 erschienen. Es ist die fünfte Briefmarke mit einer Schweizer Erfindung. Davor erschienen sind: Knoblauchpresse, Menzi Muck, Klettverschluss und Barryvox. Wir widmen jeder dieser legendären Innovationen eine Geschichte.

 

Bisher erschienen:

1. WC-Ente

2. Knoblauchpresse

 

«Schweizer Themen, insbesondere die sogenannte ‘Swissness’, stossen bei unserer Zielgruppe – Sammler und Philatelisten – auf grosses Interesse. In Kombination mit dem Thema Erfindungen trägt dies dazu bei, die Schweiz als «Erfinderland» ins Rampenlicht zu rücken», schreibt die Schweizerische Post auf Anfrage des IGE. Die Auswahl der fünf Erfindungen sei im Rahmen eines Brainstormings erfolgt. «Ziel war es, die Vielfalt und den Reichtum Schweizer Erfindungen aufzuzeigen und gleichzeitig unterschiedliche Interessensgebiete unserer Zielgruppe abzudecken». Mit der WC-Ente ist die Serie vorerst abgeschlossen. Deshalb hat die Post einen Folder mit allen bisher veröffentlichten Briefmarken zu Schweizer Erfindungen zusammengestellt.

 
Zur Übersicht

Artikel teilen